產品展示 PRODUCT DISPLAY
折疊提升式防火卷簾
特級折疊提升式防火卷簾適用于跨度不小于20米的消防洞口、弧形洞口、“L”型洞口、“U”型洞口和SLZS—04四方型,特別適用于大跨度及不規則空間場所,如商場扶梯、商場中庭、展覽館、機場候機廳、大型舞臺劇場、會展中心等施工難度較大場所。我公司專業生產這種優質的防火卷簾門產品,質量優,價格合理,歡迎大家前來選購
在線訂購產品詳情

技術與特性:
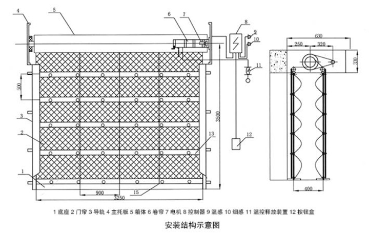
1、主要特點:將無機簾布折疊畫于底座箱,簾面下端與底座箱連接,上端固定于橫梁底部,并將鋼絲繩與卷軸及底座箱連接,利用兩邊巻軸巻動鋼絲繩,將底座箱平等提升,以達到卷簾的啟閉功能。
2、卷簾可做成半圓型、橢圓型或帶轉角等結構。
3、特別適用于大跨度結構洞口,洞口寬度w80m。
4、其它特性及選材與特級防火卷簾(雙軌無機布基)一致。







